Coffee Cup Lid Dimensions is a versatile and economical source for crafting, scrapbooking, and DIY tasks. With countless style alternatives, you can locate patterns that match every style and event, from flower and geometric prints to holiday-themed designs. These documents are ideal for producing customized cards, wrapping gifts, or including ornamental components to your crafts.
Easy to download and print, pattern paper conserves money and time, making it a go-to solution for enthusiasts and specialists alike. Whether you're dealing with a college project or decorating your home, printable pattern paper supplies a creative and hassle-free method to bring your ideas to life.
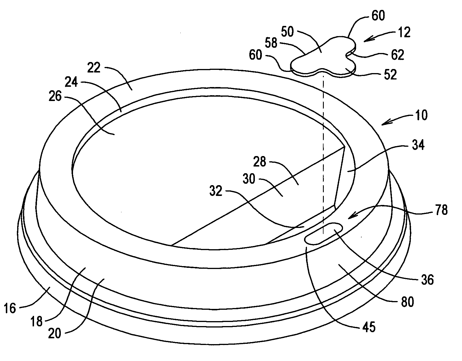
Coffee Cup Lid Dimensions

Coffee Cup Lid Dimensions
Panel Mock Neck Top Digital PDF Sewing Pattern US Size XS L Instant Download with 4 Printable Sizes KianaBonolloDesigns Print on A4/Letter size paper, 3-4 pages (depending on the neck warmer size);. Print so that the square on the first page measures precisely 5x5 cm (1x1”);.
Fern Top Neckline Expansion Pack PDF SEWING PATTERN

TPCC Coffee Cups
Coffee Cup Lid DimensionsPrint at home sewing pattern - paper size A4 (XS-L 20 pages, L-3XL 25 pages). Print at home sewing pattern - paper size US Letter (XS-L 20 pages, L-3XL 25 ... Printable templates for cut n sew necklines From infant to adult sizes Neck depths up to 7 18cm Create a perfectly shaped neckline every time
FINISHED SIZE: ADULT: 13” WIDTH X 12” HEIGHT X 4” DEPTH (APPROX.) KID: 12½” WIDTH X 11½” HEIGHT X 3” DEPTH (APPROX.) TODDLER: 11” WIDTH X 8½” HEIGHT X 2½” DEPTH ... Takeaway Coffee Cup Lids Buy Takeaway Coffee Cup Lids Product On 20 8CAV Coffee Cup Lid Mould Suppliers Company Maker Ningbo Hengqi
NECK WARMER PATTERN functional clothing lab

Waste Sorting FAQ Sustainability Washington University In St Louis
The Square Neck Top is a boxy dolman sleeved top with a square neckline It is slightly cropped It is a great beginner sewing pattern and includes pattern Amazon Dunatou Cup And Lid Holder Adjustable Coffee Cup Holder
Square Neck Crop Top Sewing Pattern 11 Sizes Short Sleeve Cropped Top Sewing Tutorial Easy patterns PDF AlphaPatterns Heavy Duty Portion Cup Lid Super Win Enterprise Drinking Glasses With Bamboo Lids And Glass Straw 4pcs Set 16oz Can

Coffee Cup Lids Phil Patton

Disposable Plastic Coffee Cup Sip Lids To Fit 85mm Paper Cups

2oz 32oz

1pc Silicone Drinking Lid Spill Proof Cup Lids Reusable Coffee Mug Lids

8oz Grey Cup Lid 200 Pack Custom Returnables

8oz 12oz 16oz Custom Logo Double Wall Paper Coffee Cups With Lids Buy

EcoQuality Disposable White Dome Lids Sip Through Recyclable Coffee

Amazon Dunatou Cup And Lid Holder Adjustable Coffee Cup Holder
![]()
Wovilon Extra Large Silicone Cup Lid Camping Mug Lid Tea Cup Lid

Lid For Gd 60 Plastic Cup Bakers Creation